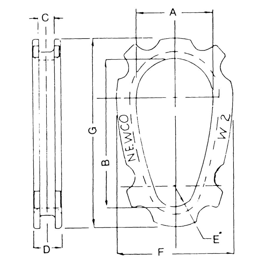
NEWCO SLIP-THRU THIMBLES are designed to allow passage of an identical thimble through its eye. This is a necessity when a regular sling is used as a choker sling. SLIP-THRU THIMBLES also prevent the eye of the sling from mashing together and the top of the eye wearing excessively. The generous inside dimensions allow the thimbles to fit large crane hooks. Rope retention ears are tapered so they can be bent or peened over wire rope.
Elebia evo2 and evo2l Crane Hooks
The evo2 is a crane hook designed for masterlinks, which, like the rest of our automatic crane hooks, engages and releases the load remotely, increasing safety, productivity and comfort for all lifting operations. The evo 2L shares the same features mentioned above,...






