Certex Logo

Categories

X100® All Alloy Screw Pin Anchor Shackles

X100® All Alloy Screw Pin Anchor Shackles

DESIGNED & SUITABLE FOR OVERHEAD LIFTING

  • 100% Forged Alloy Steel
  • Designed & Suitable for Overhead Lifting
  • Quenched & Tempered
  • Easily recognizable X100 BLAZE ORANGE Powder Coating Which Provides Protection From Corrosion, and Enables Full Exposure of Identification Markings
  • Zinc Plated Prior to X100 BLAZE ORANGE Powder Coating Provides Superior Corrosion Resistance
  • Markings: X100 Brand, Size, Working Load Limit, Conformity, Traceability, 45° Indicator Arrows*
  • *Convenient 45° Arrows Aid the End User in Their Rigging Applications (1/2” and Larger)
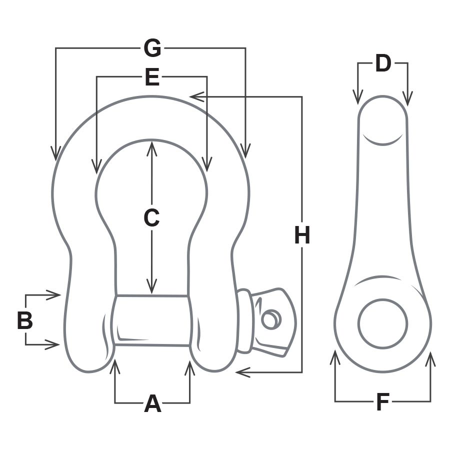
STOCK NUMBER SIZE PIN DIA. WORKING LOAD LIMIT (TONS) DIMENSIONS (IN) WEIGHT/PIECE (LBS)
A B C D E F G H
CX10-9600 1/4″ 5/16″ 0.75 0.47 0.31 1.12 0.25 0.78 0.62 1.28 1.84 0.10
CX10-9601 5/16″ 3/8″ 1.25 0.53 0.38 1.21 0.31 0.84 0.76 1.47 2.09 0.18
CX10-9602 3/8″ 7/16″ 2.00 0.66 0.43 1.43 0.38 1.03 0.92 1.78 2.49 0.31
CX10-9603 7/16″ 1/2″ 2.66 0.75 0.49 1.68 0.44 1.16 1.07 2.03 2.91 0.49
CX10-9604 1/2″ 5/8″ 3.33 0.81 0.62 1.88 0.50 1.31 1.22 2.33 3.29 0.74
CX10-9605 5/8″ 3/4″ 5.00 1.06 0.75 2.36 0.63 1.69 1.57 2.95 4.16 1.44
CX10-9606 3/4″ 7/8″ 7.00 1.26 0.87 2.81 0.75 2.01 1.89 3.49 4.90 2.16
CX10-9607 7/8″ 1″ 9.50 1.46 0.98 3.33 0.87 2.28 2.13 4.00 5.61 3.37
CX10-9608 1″ 1-1/8″ 12.50 1.71 1.10 3.79 1.04 2.70 2.36 4.65 6.25 5.30
CX10-9609 1-1/8″ 1-1/4″ 15.00 1.89 1.26 4.29 1.14 2.95 2.68 5.17 7.10 7.40
CX10-9610 1-1/4″ 1-3/8″ 18.00 2.09 1.38 4.74 1.26 3.31 2.99 5.76 7.77 9.60
CX10-9611 1-3/8″ 1-1/2″ 21.00 2.32 1.50 5.28 1.38 3.70 3.31 6.43 8.81 13.50
CX10-9612 1-1/2″ 1-5/8″ 30.00 2.44 1.65 5.85 1.50 3.90 3.62 6.56 9.60 17.35

Ultimate Load is 5 times the Working Load Limit


WARNING: Prop 65: Products supplied by CERTEX USA may expose you to chemicals including Nickel, which is known to the State of California to cause cancer. For more information, visit to www.P65Warnings.ca.gov.

Related Products

Elebia evo2 and evo2l Crane Hooks

Elebia evo2 and evo2l Crane Hooks

The evo2 is a crane hook designed for masterlinks, which, like the rest of our automatic crane hooks, engages and releases the load remotely, increasing safety, productivity and comfort for all lifting operations. The evo 2L shares the same features mentioned above,...

Elebia evo5 Crane Hooks

Elebia evo5 Crane Hooks

The evo range was designed to enhance safety and increase productivity. It is designed under a fail-safe principle. Most importantly, this hook CAN NOT drop a suspended load. This is a feature of all our designs, geometrically fail-safe, without any sensors or...

OZ Lifting Beam Clamp

OZ Lifting Beam Clamp

Robust all-steel construction Super-quick adjustment to most I-, S-, and W-beams Durable baked enamel paint protection Stainless steel ID tag Individual serial number and test certificate

OZ Lifting USA Push Beam Trolleys

OZ Lifting USA Push Beam Trolleys

Fastest adjusting trolley requiring no tools to install Anti-drop plate ensures safe load handling Lightweight robust construction Durable baked enamel provides protection Fits to most I-, S-, and W-beams RoHS-compliant zinc-plated finish Glow-in-the-dark decals...